藍光有益波段
藍光分波段,有些有害,有些有益。
藍光有害波段:385≤ λ<415(有害程度比較大)
藍光有害波段:415≤ λ<445(有害程度稍微大)
藍光有益波段:445≤ λ<475(對人體有益)
藍光有益波段:475≤ λ<505(對人體有益)
因此國家標準GB/T 38120 對上訴波段的藍光做出了規范,指定它們的透射比。
我司能夠檢測藍光的透射比,鑒定產品的透射能力,具有CNAS CMA授權,檢測報告加蓋CNAS CMA章。
下面我們根據GB/T 38120簡單講講相關的測試過程。
一,產品范圍:只要是具有防藍光作用的膜層和材料,都可以檢測。具體如下:
本標準規定了應用于光學鏡片產品、顯示產品、照明產品及皮膚防護產品的藍光防護膜的分類、要求、測試方法。
本標準適用于在光學鏡片產品、顯示產品、照明產品上使用的具有藍光防護功能的膜層和材料,附著在光學鏡片產品、顯示產品、照明產品上的具有藍光防護功能的膜層和材料,以及針對皮膚藍光防護的生物膜層和材料(包括劑型、原料等)。
二,名詞定義,什么是透射比
透射比:穿透過防護膜或鏡片之后的光,比上穿透過防護膜或鏡片之前的光。結果以百分數體現。
三,GB/T 38120 對藍光透射比的要求/限值,見下表
光譜范圍λ/nm | 光透射比要求 |
385≤ λ<415 | <75% |
415≤ λ<445 | <80% |
445≤ λ<475 | >80% |
475≤ λ<505 | >80% |
四,檢測方法:光譜儀法
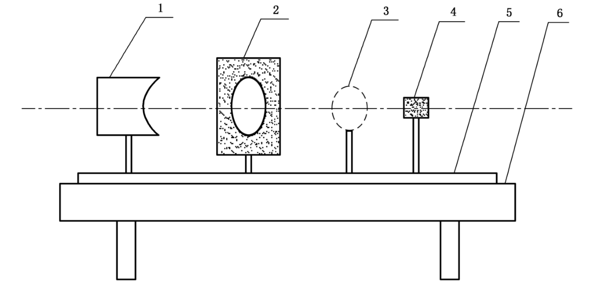
光譜透過率測量裝置組成結構參考示意圖如下所示,主要由光學實驗平臺、光軌、光學鏡片支架光闌、紫外、可見光譜儀組成。

1--光源,2—光闌,3—鏡片,4—光譜探測器,5—光學軌道,6—光學平臺
五,檢測結果(舉例)


返回頂部